
最新工商信息:宗馥莉既不是娃哈哈集团副董事长 也不是总经理!
来源:每日经济新闻 作者:《每日财讯网》编辑 发布时间:2024-07-18
7月18日,宗庆后之女宗馥莉辞任娃哈哈副董事长的函件在网上流传,引发市场高度关注。
澎湃新闻消息,一位接近娃哈哈集团的知情人士7月18日告诉澎湃新闻,情况属实,但事发突然,公司高管此前不知情,目前公司股东、管理层正在进一步协商处理。
第一财经消息,接近娃哈哈的人士透露,前段时间,娃哈哈高层陆续走了几个,但拒绝透露更多信息。有娃哈哈前高管称此事属实。
7月18日,《每日经济新闻》记者根据披露的公开电话致电杭州恒意(宗馥莉旗下的宏胜饮料100%控股,天眼查显示,宗馥莉为杭州恒意执行董事),接电话的工作人员表示,娃哈哈创意旗舰店系公司经营,公司属于娃哈哈经销商。对宗馥莉发函辞任娃哈哈集团副董事长、总经理一事并不知情,对娃哈哈内部情况不了解;和娃哈哈的合作也并无变化,公司进货还是从娃哈哈进的,最近和之前的合作没有变化。

朋友圈流传的宗馥莉辞职信
娃哈哈集团的相关股权和公司管理层,近期未发生变更
官网显示,杭州娃哈哈集团有限公司创建于1987年,在创始人宗庆后的带领下,从3个人、14万元借款白手起家,现已成为中国企业500强、中国制造业500强、中国民营企业500强。企业规模和效益连续二十多年处于行业领先地位。
今年2月,娃哈哈集团创始人宗庆后,因病逝世。国家企业信用信息公示系统、天眼查显示,娃哈哈集团的相关的股权,以及公司管理层,近期未发生变更。
国家企业信用信息公示系统显示,娃哈哈集团成立于1993年2月,注册资金52637.47万元。股东包括宗庆后、杭州娃哈哈集团有限公司基层工会联合委员会(职工持股会)、杭州上城区文旅投资控股集团有限公司。董事会成员包括宗庆后、张晖、吴建林、潘家杰,余强兵等5人,其中宗庆后为董事长和总经理。


天眼查APP显示,目前,娃哈哈集团法人代表,依旧为宗庆后。股东层面包括杭州上城区文旅投资控股集团有限公司、宗庆后,以及杭州娃哈哈集团有限公司基层工会联合委员会(职工持股会)。娃哈哈集团的董事会包括5名成员,分别为宗庆后、张晖、吴建林、潘家杰,余强兵。其中,宗庆后身份为董事长、总经理。

据证券时报e公司,换而言之,按照上述工商信息,在目前娃哈哈集团管理层,宗馥莉既不是副董事长,也不是总经理。同时,宗庆后逝世4个多月后,相关股权的继承问题,也尚未进行办理。
但是,今年3月27日,娃哈哈集团官网转载的一篇官方报道,宗馥莉的身份为“杭州娃哈哈集团总经理、宏胜饮料集团总裁宗馥莉”。

宗馥莉近期仍在接手娃哈哈旗下企业
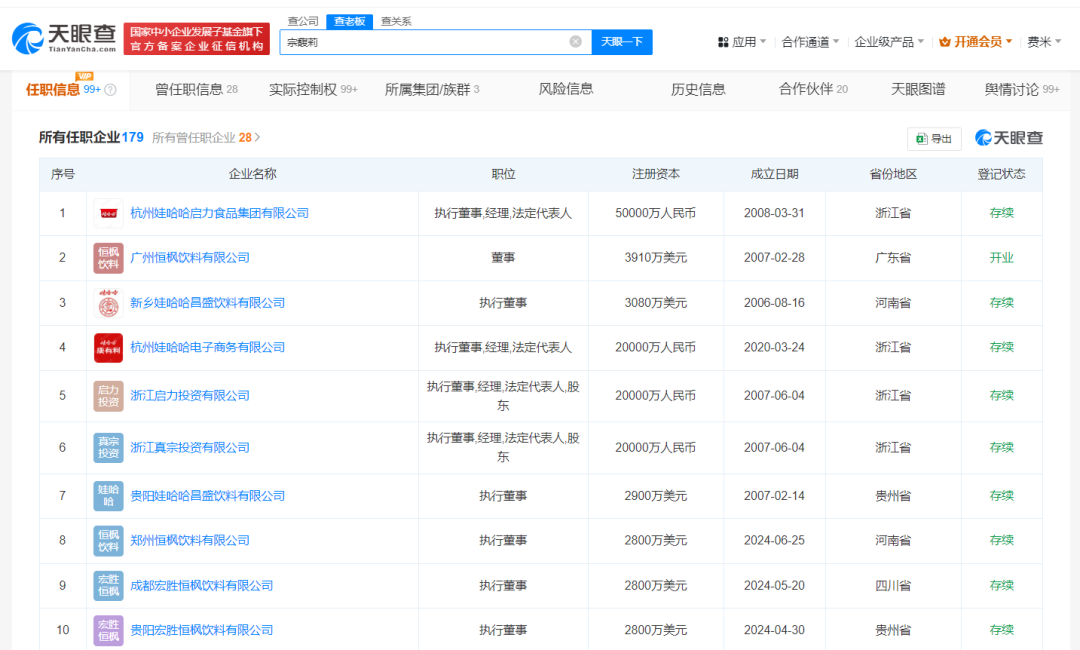
天眼查App显示,宗馥莉名下关联企业有170余家,其中160余家为存续状态,包括杭州娃哈哈启力食品集团有限公司、广州恒枫饮料有限公司、杭州娃哈哈电子商务有限公司等,均为娃哈哈集团旗下或上下游公司,涉及饮料、食品、电商、物流、包装、营销、广告、投资等各领域,宗馥莉多担任董事长、董事、经理等职务。
值得一提的是,娃哈哈创始人宗庆后去世后,宗馥莉已接手父亲名下多家公司。近期宗馥莉仍在接手父亲名下公司,就在一周前,其刚刚接手了拉萨娃哈哈食品饮料营销有限公司,担任法定代表人、董事、经理。


娃哈哈大量自然人股份遭拍卖
据了解,娃哈哈的股权结构较为复杂,娃哈哈集团有限公司中,杭州上城文商旅投资控股集团有限公司持股46%,娃哈哈创始人宗庆后个人持股29.4%,杭州娃哈哈集团有限公司基层工会联合委员会(职工持股会)持股24.6%。
阿里拍卖平台显示,2024年,浙江娃哈哈实业股份有限公司的自然人股份出现近50次拍卖,从5000股到6万股不等,价格从9万多元到几十万元。


大河财立方消息,7月18日,有关娃哈哈高层人事变动及副董事长宗馥莉提出离职的截图18日上午在网络上大规模流传。在此背景下,记者发现,介绍页面备注每天上午11点直播的娃哈哈官方旗舰店抖音直播间,截至中午12点,并未开始直播。该抖音店铺客服回应称,直播为不定期的,可以关注店铺等待。
责任编辑:《每日财讯网》编辑
下一篇:没有了!

〖免责申明〗本文仅代表作者个人观点,其图片及内容版权仅归原所有者所有。如对该内容主张权益请来函或邮件告之,本网将迅速采取措施,否则与之相关的纠纷本网不承担任何责任。